
欢迎访问启东富顺润滑设备有限公司网站!

一、概述
适用于干油中,向的贮油器内充填润滑脂。该电动干油泵为不带贮油桶型,直接放在200L的油桶上,可以单独操作,与相应的电控装置连接可以实现电动润滑系统的自动补脂。该泵为内藏式柱塞容积泵,采用蜗轮蜗杆减速传动,运转平稳,输出压力高,出口处设置调压安全阀具有过载保护作用。
二、技术参数
使用介质为锥入度265~385(25℃,150g)1/10mm的润滑脂(NLGI0#~2#)。
三、动作说明:
由垂直安装的电机经蜗杆带动蜗轮回转,在蜗轮端面上装有偏心轴,通过曲柄连杆带动柱塞上下往复运动,由活塞内部及管帽内单向阀的作用完成吸压油过程,经输油胶管向外输送。
四、使用说明:
1、建议按旋向箭头方向接线旋转。
2、使用的润滑脂需要干净、质地均匀,在规定牌号范围内电动干油泵厂家。
3、首次使用前应向减速箱内注入润滑油(N220)至规定油面。
4、首次启动后,应先打开放气阀,正常出油后关闭。
5、不许在桶内无油脂的情况下空运转。
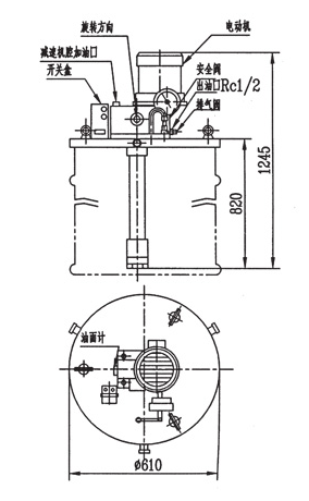
五、外形尺寸:
电话: 0513-83761288
手机: 133-0146-6566
地址:启东市寅阳镇寅北路一号

扫一扫二维码
专注压力等级40MPa以下干油润滑系统及配套用各种型号规格的润滑泵、分配器、欢迎致电!