
欢迎访问启东富顺润滑设备有限公司网站!

一、概述
该电动加油泵主要用于干油润滑系统中,双线分配器向干油润滑装置的贮油器内补充润滑脂。该泵为不带贮油桶型,直接放在200L的油桶上,可以单独操作,与相应的电控装置连接可以实现电动润滑泵系统的自动补脂。该泵为内藏式柱塞容积泵,运行平稳,输出压力高。
二、技术参数
使用介质为锥入度220(25℃,150g)1/10mm的润滑脂和粘度等级大于N68的润滑油。
三、型号说明
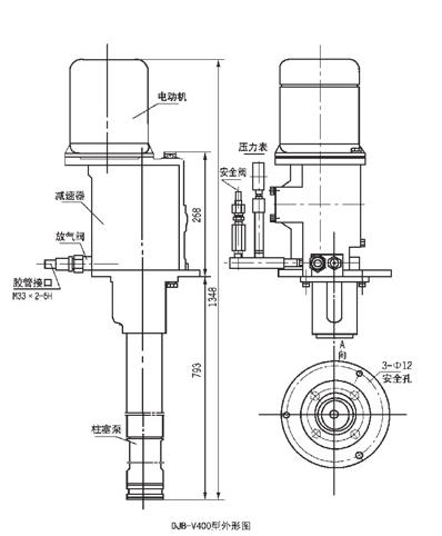
四、外形尺寸
五、工作原理
由垂直安装的电机经蜗杆驱动蜗轮回转,蜗轮端面上装有偏心轴,通过曲柄连杆带动柱塞上下往复运动,由活塞内部及管帽内单向阀的作用,完成吸、压油过程经输油胶管向外输送。
六、使用方法
1、按旋向箭头方向接线旋转。
2、输送的润滑脂需要干净,质地均匀,在规定牌号范围内。
3、首次使用前应向减速箱内注入润滑油(N220)至规定油面。
4、加油泵首次启动后,应先打开放气阀,正常出油后关闭。
5、不许在桶内无油脂的情况下空运转。
七、订货须知
如需带贮油桶或桶盖,订货时需要在合同中注明。
电话: 0513-83761288
手机: 133-0146-6566
地址:启东市寅阳镇寅北路一号

扫一扫二维码
专注压力等级40MPa以下干油润滑系统及配套用各种型号规格的润滑泵、分配器、欢迎致电!